ICSE-X-Physics
04.3: Magnetic Effect of Current and Electromagnetic Induction Class 10 Physics
Exercises
1. Can you produce electricity from magnetism?
Answer
Yes, we can produce electricity from magnetism.
2. What is electromagnetic induction?
Answer
The production of electric current by moving a straight conductor in a magnetic field is called electromagnetic induction.
3. State Fleming's right hand rule.
Answer
Fleming's right hand rule can be stated as: Stretch the forefinger, the middle finger and the thumb of the right hand, such that they are mutually perpendicular to each other. If the forefinger indicates the direction of the magnetic field, thumb indicates the direction of motion of conductor, then the middle finger indicates the direction of induced current in the conductor.
4. A coil of copper wire is connected to a galvanometer. What would happen if a bar magnet is:
(i) Pushed into the coil with its north pole entering first?
(ii) Held at rest inside the coil?
(iii) Pulled out again?
Answer (i) When the north-pole is pushed into the coil, a momentary deflection is observed in the galvanometer that indicates the production of a momentary current in the coil.
(ii)When the magnet is held at rest, there is no deflection in the galvanometer, indicating that no current is produced in the coil.
(iii) When the north-pole is pulled out from the coil, the deflection of the galvanometer is along the opposite direction, indicating the production of an opposite current.
5. When do you use (i) Fleming's left hand rule, and (ii) Fleming's right hand rule?
Answer
(i) Fleming's left hand rule is used to find out the direction of Lorentz force on a conductor.(ii) Fleming's right hand rule is used to find out the direction of induced current in a conductor.
6. Can you find the magnitude of current using Fleming's right hand rule?
Answer
No, we cannot find out the magnitude of current using Fleming's right hand rule; we can find only the direction of induced current.
7. What do you mean by direct current?
Answer
If the current flows along the same direction with time, it is called a direct current (D.C.).
8. What do you mean by A.C.?
Answer
If the current changes direction after equal intervals of time, it is known as alternating current (A.C.).
9. What is the frequency of D.C.?
Answer
Frequency of D.C. is zero.
10. What is the frequency of A.C. used in India?
Answer Frequency of A.C. used in India is 50 Hz.
11. How does an alternating current differ from the direct current?
Answer
An alternating changes its direction after equal intervals of time but direct current does not change its direction.
12. Which type of current does a generator with commutator produce?
Answer
A generator with commutator (D.C. generator) produces D.C. current.
13. A dynamo converts one from of energy into another. Name the two forms of energy.
Answer
A dynamo converts mechanical energy into electrical energy.
14. In household circuits, is a fuse connected in series or in parallel?
Answer
A fuse is always connected in series, in household circuits.
15. Usually three insulated wires of different colours are used in an electrical appliance. Name the three colours.
Answer
Three colours are:
16. What do you mean by short-circuiting?
Answer
Short circuiting occurs when the live wire comes in direct contact with the neutral wire so a zero resistance path is provided to the current. The heavy current then passes through the appliance and wires of the circuit.
17. State two important precautions you should observe while using electricity?
Answer
Precautions while using electricity:
18. What do you mean by earthing?
Answer
Earthing is a safety device which is used to prevent shocks due to short-circuiting and leakages. Earthing, means that the metal body of an appliance, or the kWh meter of the house, is connected to a thick copper wire which is buried deep in the earth and at its end ia a copper plate surrounded by a mixture of charcoal and common salt. This prevents the users from getting shocks.
dlt27703682557925625222">19. What do you mean by an electric fuse?
Answer
An electric fuse is a device which is used to limit the current in an electric circuit. The use of a fuse thus safeguards the circuit and appliances connected in that circuit from being damaged. It is a short piece of wire made of an alloy of lead and tin. If the current passing through the fuse exceeds the safeguard limit the heat produced melts the fuse and this breaks the circuit.
20. What is the usual colour code followed for connecting live, neutral and earth wires?
Answer
Colour code for live wire is red, neutral wire is black and earth wire is green.
21. Many electrical appliances and circuits are earthed grounded. What is the reason for this?
Answer
This is done to protect the appliances and circuits from any damage due to short-circuit and thus accidents like fire and fatal shocks. Earthing provides an easy and safe path to the excess current in the circuit and sends it to the ground.
22. Are switches connected in the neutral or live wire?
Answer
Switches are always connected in live wire.
23. State Fleming's right hand rule.
Answer
Fleming's right hand rule can be stated as: Stretch the forefinger, the middle finger and the thumb of the right hand, such that they are mutually perpendicular to each other. If the forefinger indicates the direction of the magnetic field, thumb indicates the direction of motion of conductor, then the middle finger indicates the direction of induced current in the conductor.
24.State Fleming's left hand rule.
Answer
Fleming's left hand rule can be stated as: Stretch the forefinger, the middle finger and the thumb of the right hand, such that they are mutually perpendicular to each other. If the forefinger indicates the direction of the magnetic field, the middle finger indicates the direction of current in the conductor then thumb indicates the direction of force exerted on the conductor.
25. What do you mean by a solenoid?
Answer
If a conducting wire is wound in form of a cylindrical coil whose diameter is less in comparison to the length, the coil is called a solenoid.
26. Can a copper wire be used as a fuse wire?
Answer
No, a copper wire cannot be used as a fuse wire as it has low resistance and high melting point.
27. What type of electricity is supplied to us at houses?
Answer
A.C. is supplied to us in houses.
28. Name the material used for making fuse wire.
Answer
An alloy of lead and tin is used for making fuse wire.
29. What do you mean by earthing?
Answer
Earthing is a safety device which is used to prevent shocks due to short-circuiting and leakages. Earthing, means that the metal body of an appliance, or the kWh meter of the house, is connected to a thick copper wire which is buried deep in the earth and at its end ia a copper plate surrounded by a mixture of charcoal and common salt. This prevents the users from getting shocks.
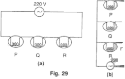
30. The diagram shows two ways of connecting three lamps P, Q and R to A.C. supply of 220 V.
Name the two arrangements. Which of them would you prefer in a household circuit? Give reason for your answer.
Answer
Arrangement
(a) is a series circuit.
Arrangement
(b) is a parallel circuit.
We would prefer a parallel circuit in household because:
31. Fig. 30 shows a three pin plug top. Label the three pins. Why is the top pin thicker and longer than the other two? Why are the pins splitted at the ends?
Answer
E is for earth pin, N is for neutral pin and L is for live pin.
The earth pin is long so that the earth connection is made first. This ensures the safety of the user because if the appliance is defective, the fuse will blow off. The earth pin is made thicker so that even by mistake it cannot be inserted into the hole for the live or neutral connection of the socket.
The pins are splitted at the ends to provide spring action so that they fit in the socket holes tightly.
32. The diagram 31 shows a 3 terminal plug socket.(i) What is the purpose of the terminal E?
(ii) To which part of the appliance is the terminal E connected?
(iii) To which wire L or N, is the fuse connected and why?

Answer
(i) The purpose of the terminal E is to provide earth connection.
(ii) Terminal E is connected to the earth pin of the plug.
(iii) Fuse is connected in series with the wire L, so that if excess current flows through the circuit, the fuse wire get heated up and melts thus, breaking the circuit and preventing the flow of current to the appliance.
1. Can you produce electricity from magnetism?
Answer
Yes, we can produce electricity from magnetism.
2. What is electromagnetic induction?
Answer
The production of electric current by moving a straight conductor in a magnetic field is called electromagnetic induction.
3. State Fleming's right hand rule.
Answer
Fleming's right hand rule can be stated as: Stretch the forefinger, the middle finger and the thumb of the right hand, such that they are mutually perpendicular to each other. If the forefinger indicates the direction of the magnetic field, thumb indicates the direction of motion of conductor, then the middle finger indicates the direction of induced current in the conductor.
4. A coil of copper wire is connected to a galvanometer. What would happen if a bar magnet is:
(i) Pushed into the coil with its north pole entering first?
(ii) Held at rest inside the coil?
(iii) Pulled out again?
Answer (i) When the north-pole is pushed into the coil, a momentary deflection is observed in the galvanometer that indicates the production of a momentary current in the coil.
(ii)When the magnet is held at rest, there is no deflection in the galvanometer, indicating that no current is produced in the coil.
(iii) When the north-pole is pulled out from the coil, the deflection of the galvanometer is along the opposite direction, indicating the production of an opposite current.
5. When do you use (i) Fleming's left hand rule, and (ii) Fleming's right hand rule?
Answer
(i) Fleming's left hand rule is used to find out the direction of Lorentz force on a conductor.(ii) Fleming's right hand rule is used to find out the direction of induced current in a conductor.
6. Can you find the magnitude of current using Fleming's right hand rule?
Answer
No, we cannot find out the magnitude of current using Fleming's right hand rule; we can find only the direction of induced current.
7. What do you mean by direct current?
Answer
If the current flows along the same direction with time, it is called a direct current (D.C.).
8. What do you mean by A.C.?
Answer
If the current changes direction after equal intervals of time, it is known as alternating current (A.C.).
9. What is the frequency of D.C.?
Answer
Frequency of D.C. is zero.
10. What is the frequency of A.C. used in India?
Answer Frequency of A.C. used in India is 50 Hz.
11. How does an alternating current differ from the direct current?
Answer
An alternating changes its direction after equal intervals of time but direct current does not change its direction.
12. Which type of current does a generator with commutator produce?
Answer
A generator with commutator (D.C. generator) produces D.C. current.
13. A dynamo converts one from of energy into another. Name the two forms of energy.
Answer
A dynamo converts mechanical energy into electrical energy.
14. In household circuits, is a fuse connected in series or in parallel?
Answer
A fuse is always connected in series, in household circuits.
15. Usually three insulated wires of different colours are used in an electrical appliance. Name the three colours.
Answer
Three colours are:
- Red (for live wire)
- Green (for earth wire)
- Black (for neutral wire)
16. What do you mean by short-circuiting?
Answer
Short circuiting occurs when the live wire comes in direct contact with the neutral wire so a zero resistance path is provided to the current. The heavy current then passes through the appliance and wires of the circuit.
17. State two important precautions you should observe while using electricity?
Answer
Precautions while using electricity:
- One must use wires or cables of current carrying capacity higher than the current which can flow through the circuit while using all appliances.
- An electrical appliance must never be operated (or touched) with wet hands.
18. What do you mean by earthing?
Answer
Earthing is a safety device which is used to prevent shocks due to short-circuiting and leakages. Earthing, means that the metal body of an appliance, or the kWh meter of the house, is connected to a thick copper wire which is buried deep in the earth and at its end ia a copper plate surrounded by a mixture of charcoal and common salt. This prevents the users from getting shocks.
dlt27703682557925625222">19. What do you mean by an electric fuse?
Answer
An electric fuse is a device which is used to limit the current in an electric circuit. The use of a fuse thus safeguards the circuit and appliances connected in that circuit from being damaged. It is a short piece of wire made of an alloy of lead and tin. If the current passing through the fuse exceeds the safeguard limit the heat produced melts the fuse and this breaks the circuit.
20. What is the usual colour code followed for connecting live, neutral and earth wires?
Answer
Colour code for live wire is red, neutral wire is black and earth wire is green.
21. Many electrical appliances and circuits are earthed grounded. What is the reason for this?
Answer
This is done to protect the appliances and circuits from any damage due to short-circuit and thus accidents like fire and fatal shocks. Earthing provides an easy and safe path to the excess current in the circuit and sends it to the ground.
22. Are switches connected in the neutral or live wire?
Answer
Switches are always connected in live wire.
23. State Fleming's right hand rule.
Answer
Fleming's right hand rule can be stated as: Stretch the forefinger, the middle finger and the thumb of the right hand, such that they are mutually perpendicular to each other. If the forefinger indicates the direction of the magnetic field, thumb indicates the direction of motion of conductor, then the middle finger indicates the direction of induced current in the conductor.
24.State Fleming's left hand rule.
Answer
Fleming's left hand rule can be stated as: Stretch the forefinger, the middle finger and the thumb of the right hand, such that they are mutually perpendicular to each other. If the forefinger indicates the direction of the magnetic field, the middle finger indicates the direction of current in the conductor then thumb indicates the direction of force exerted on the conductor.
25. What do you mean by a solenoid?
Answer
If a conducting wire is wound in form of a cylindrical coil whose diameter is less in comparison to the length, the coil is called a solenoid.
26. Can a copper wire be used as a fuse wire?
Answer
No, a copper wire cannot be used as a fuse wire as it has low resistance and high melting point.
27. What type of electricity is supplied to us at houses?
Answer
A.C. is supplied to us in houses.
28. Name the material used for making fuse wire.
Answer
An alloy of lead and tin is used for making fuse wire.
29. What do you mean by earthing?
Answer
Earthing is a safety device which is used to prevent shocks due to short-circuiting and leakages. Earthing, means that the metal body of an appliance, or the kWh meter of the house, is connected to a thick copper wire which is buried deep in the earth and at its end ia a copper plate surrounded by a mixture of charcoal and common salt. This prevents the users from getting shocks.
30. The diagram shows two ways of connecting three lamps P, Q and R to A.C. supply of 220 V.
Name the two arrangements. Which of them would you prefer in a household circuit? Give reason for your answer.
Answer
Arrangement
(a) is a series circuit.
Arrangement
(b) is a parallel circuit.
We would prefer a parallel circuit in household because:
- In parallel arrangement, each appliance works at the same voltage.
- In parallel arrangement, if one bulb (or appliance0 is switched off (or fuses), the other bulbs (or appliances) continue to glow (or operate).
31. Fig. 30 shows a three pin plug top. Label the three pins. Why is the top pin thicker and longer than the other two? Why are the pins splitted at the ends?
Answer
E is for earth pin, N is for neutral pin and L is for live pin.
The earth pin is long so that the earth connection is made first. This ensures the safety of the user because if the appliance is defective, the fuse will blow off. The earth pin is made thicker so that even by mistake it cannot be inserted into the hole for the live or neutral connection of the socket.
The pins are splitted at the ends to provide spring action so that they fit in the socket holes tightly.
32. The diagram 31 shows a 3 terminal plug socket.(i) What is the purpose of the terminal E?
(ii) To which part of the appliance is the terminal E connected?
(iii) To which wire L or N, is the fuse connected and why?
Answer
(i) The purpose of the terminal E is to provide earth connection.
(ii) Terminal E is connected to the earth pin of the plug.
(iii) Fuse is connected in series with the wire L, so that if excess current flows through the circuit, the fuse wire get heated up and melts thus, breaking the circuit and preventing the flow of current to the appliance.